特許の紹介
胃ろうおよび尿道カテーテルの確実な交換方法
(特許第5150900号)
発明のきっかけ
体の中に入れてあるチューブ(カテーテル)は、ほとんどの場合定期的に交換が必要です。しかし、カテーテルを抜いて再度カテーテルを入れる際に、うまくカテーテルがもとの位置に入っていかないことがあります。
特に胃ろうカテーテルの場合、カテーテルが胃の中に戻らず、先端がおなかの中に飛び出てしまっていたりすると、栄養剤を胃ろうカテーテルから入れる際におなかの中に栄養剤が入ってしまい、腹膜炎などの重症な病気を引き起こしてしまいます。そのため多くの病院では胃ろうカテーテルの交換はレントゲンなどの大がかりな装置を使って慎重に行っています。しかし胃ろうを必要としている患者さんの多くは体が不自由であり通院が大変です。本当であれば医師が往診をして、交換してあげられるとよいのですが、大がかりな装置を使わずに確実に交換するためには、相当な経験や工夫が必要です。そのため胃ろうを交換するために数ヶ月ごとに入院している場合もあります。
尿道カテーテルの交換はほとんどの患者さんでは特に難しくありませんが、尿道が曲がっていたりして、普通にカテーテルを入れてもうまく入っていかない患者さんが時々います。
このようなカテーテル交換を安全、確実に行うことができるような工夫を考案しました。
アイデア
発明の肝となるアイデアは、もともと入っているカテーテルが正しい場所に入っていれば、そのカテーテルの中を通して入れれば、新しいカテーテルは必ず正しい場所に入るということです。そこで最初は細い形をしていて、続いてカテーテルを入れることができる広がるカテーテルを使用すれば、そのカテーテルの中を通すことで、新しいカテーテルを元の位置に入れることができるようになるはずです。このような新しいカテーテルを入れるための特製のカテーテルを、カテーテル交換のためのガイド役という意味でガイドカテーテルと名付けました。
カテーテル交換の手順

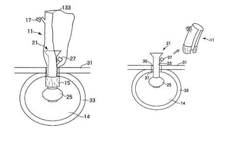
ガイドカテーテル(11)はもともとは細くできていますが、中に新しいカテーテルを通せるように広がるように作られています。先端(16)はガイドカテーテルが知らない間に抜けてしまわないように、反対側から空気や水を入れることで膨らむ風船状になっています。

もともと入っているカテーテル(23)の中にガイドカテーテル(11)を通します。ガイドカテーテルの先端の風船(15)を膨らませます。

もともと入っていたカテーテル(23)の先端の風船(25)を縮ませ、もともと入っていたカテーテルを抜き去ります。

ガイドカテーテルの中に新しいカテーテル(21)を入れていきます。ガイドカテーテルは新しいカテーテルによって広がります。ガイドカテーテルの先端に風船がついているため、誤ってガイドカテーテルが抜けてしまうことはありません。風船の部分を通す際は多少抵抗がありますが、そこを超えると抵抗がなくなります。そこで新しいカテーテルの風船(25)を膨らませます。

ガイドカテーテルの先端の風船を縮ませ、ガイドカテーテルを抜き去ります。
協力企業募集中
このアイデアを実用化していただける企業を募集しています。